產品介紹
一、產品名稱:靜音止回閥
二、型號:HC42X
三靜音止回閥介紹:
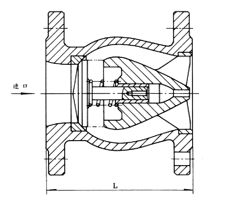
該閥由閥體、閥座、導流體、閥瓣.軸瓦及彈簧等零件組成。內部流道采用流線型設計,壓力損失
小,閥瓣啟閉行程很短,停泵時可快速關閉,防止巨大的水錘聲,形成靜音效果。該閥主要用于給水.排
水、消防、暖通系統,可安裝于水泵出口處,防止介質倒流及水錘對泵的損壞。


一、產品名稱:靜音止回閥
二、型號:HC42X
三靜音止回閥介紹:
該閥由閥體、閥座、導流體、閥瓣.軸瓦及彈簧等零件組成。內部流道采用流線型設計,壓力損失
小,閥瓣啟閉行程很短,停泵時可快速關閉,防止巨大的水錘聲,形成靜音效果。該閥主要用于給水.排
水、消防、暖通系統,可安裝于水泵出口處,防止介質倒流及水錘對泵的損壞。

